Το ΙΜΕΙ είναι ο μοναδικός σειριακός αριθμός που υποχρεωτικά συνοδεύει κάθε κινητή συσκευή ως αναγνωριστικό της ταυτότητάς της.

Τον αριθμό ΙΜΕΙ (International Mobile Equipment Identity – Διεθνής Κωδικός Κινητών Τηλεφώνων) συνήθως μπορείτε να τον δείτε κάτω από το σημείο που έχει τοποθετηθεί η μπαταρία του τηλεφώνου, χαραγμένο στο κάτω μέρος του οπίσθιου καλύμματος της συσκευής ενώ υπάρχει αποθηκευμένος και μέσα στο τσιπάκι της μητρικής πλακέτας της κάθε συσκευής.

Καθώς αποτελεί την ταυτότητα της κάθε συσκευής, ο κωδικός ΙΜΕΙ είναι μοναδικός και περιλαμβάνει πληροφορίες για τον κατασκευαστή και το μοντέλο της συσκευής. Είναι ένας 15ψήφιος αριθμός ειδικής αναγνώρισης της συσκευής σας όπου τα αρχικά 8 ψηφία του προσδιορίζουν το μοντέλο και την προέλευση του τηλεφώνου ενώ οι υπόλοιποι αριθμοί ορίζονται από τον κατασκευαστή.
Τον κωδικό ΙΜΕΙ μπορείτε να τον βρείτε:
* Εκτυπωμένο στην ετικέτα γραμμικού κωδικού της συσκευής που είναι επικολλημένη στη συσκευασία αγοράς

* Πληκτρολογώντας στο τηλέφωνό σας * # 06 #

* Μέσω σχετικής εφαρμογής που υπάρχει στο λογισμικό της συσκευής
Στην περίπτωση τηλεφώνου με δύο κάρτες SIM, θα βρείτε αντίστοιχα και δύο αριθμούς IMEI (IMEI 1, IMEI 2) από τους οποίους θα πρέπει να κρατήσετε τον αριθμό IMEI 1.
Στις περισσότερες συσκευές iOS, μπορείτε να επιλέξετε Ρυθμίσεις>Γενικά>Πληροφορίες και να δείτε το σειριακό αριθμό της συσκευής σας.
Ο βασικός λόγος ύπαρξης του ΙΜΕΙ είναι για να αναγνωρίζει τις κινητές συσκευές. Ένας επιπλέον λόγος ή πρόθεση, είναι η προστασία από ενδεχόμενη κλοπή. Αν μια συσκευή μπορεί να αναγνωριστεί σε οποιοδήποτε σημείο του κόσμου καθιστά δυσκολότερο για τον κλέφτη απλά να αλλάξει την SIM και να μπορέσει να χρησιμοποιήσει προς όφελός του την συσκευή σας.
Τα iPhone θεωρούνται από πολλούς τα πιο όμορφα, εξαιρετικής σχεδίασης smartphone που έχουν κυκλοφορήσει έως τώρα στην αγορά. Πολλοί χρήστες iPhone βέβαια βρίσκουν και μια σκοτεινή πλευρά σε αυτό, γιατί αυτή η ομορφιά τους έχει κοστίσει ακριβά να την αποκτήσουν. Τα iPhone, ιδιαίτερα τα τελευταία μοντέλα, θεωρούνται εξαιρετικά εύθραυστα.
Τα iPhone 6, σε αντίθεση με κάποια Αndroid smartphones, δεν διαθέτουν προστατευτικό γυαλί όπως το Gorilla Glass. Υπάρχουν αρκετά video με drop test που συγκρίνουν smartphone με Gorilla glass που καταφέρνουν να «επιζήσουν» από την πτώση, ενώ τα iPhone 6 δεν έχουν την ίδια τύχη. Έτσι με μια άτσαλη πτώση, το iPhone καταλήγει με ραγισμένη ή σπασμένη οθόνη.
Για να προστατεύεστε την οθόνη της συσκευής σας, χρησιμοποιήστε προστατευτικό γυαλί (Tempered Glass).

Αντίθετα από την απλή μεμβράνη, το προστατευτικό γυαλί εφαρμόζει επάνω στην οθόνη προσφέροντας της την μέγιστη προστασία από χτυπήματα, ραγίσματα και σπάσιμο. Σε ενδεχόμενη πτώση, θα σπάσει το προστατευτικό γυαλί αντί για την οθόνη της συσκευής σας που θα σας κοστίσει να την επισκευάσετε.

Αν το iPhone σας πέσει από τον 5ο όροφο, πολύ πιθανό το προστατευτικό γυαλί να μην μπορέσει να εγγυηθεί την «διάσωσή» του και θα χρειαστεί επισκευή ή αντικατάσταση. Αλλά αν σας πέσει κατά λάθος στο πάτωμα από την άκρη του γραφείου σας, θα το βοηθήσει να «επιβιώσει».
Είναι αρκετά ενοχλητικό εάν κατά τη διάρκεια μιας κλήσης συχνά σας παραπονιούνται ότι δεν μπορούν να σας ακούσουν καθαρά, ότι σας ακούνε διακεκομμένα ή ακόμη και ότι δεν σας ακούνε καθόλου.

Αρχικά ελέγξτε ότι έχετε εγκαταστήσει στο iPhone σας την πιο πρόσφατη έκδοση του iOS και κάντε μια επανεκκίνηση στη συσκευή σας. Παρατηρήστε εάν όταν μιλάτε στο τηλέφωνο σας δεν μπλοκάρετε ασυναίσθητα το μικρόφωνο με τα δάχτυλά σας ή τον ώμο σας. Εάν χρησιμοποιείτε κάποιο προστατευτικό οθόνης ή κάποια προστατευτική θήκη που καλύπτει το μικρόφωνο της συσκευής σας, αφαιρέστε τα. Ελέγξτε για τυχόν σκόνη ή υπολείμματα πάνω στο μικρόφωνο και καθαρίστε το εάν χρειάζεται.

Δοκιμάστε να κάνετε μόνοι σας ένα τεστ μικροφώνου στο iPhone σας για να διαπιστώσετε εάν το πρόβλημα οφείλεται στο μικρόφωνο και όχι σε κάποια εφαρμογή που χρησιμοποιείτε ή σε αδύναμη σύνδεση.
Ανοίξτε την εφαρμογή του μαγνητοφώνου, μιλήστε κοντά στο μικρόφωνο και ηχογραφήστε την φωνή σας. Στην αναπαραγωγή της ηχογράφησης θα πρέπει να μπορείτε να ακούτε τη φωνή σας καθαρά. Εάν δεν ακούτε κανένα ήχο, τότε το μικρόφωνο του iPhone σας έχει χαλάσει.

Στην περίπτωση που το μικρόφωνο σας δεν λειτουργεί σωστά κατά τη διάρκεια των κλήσεων και λειτουργεί κανονικά σε εφαρμογές (πχ. Skype, Viber) τότε το πρόβλημα στο iPhone σας εντοπίζεται στο τσιπάκι του ήχου στην μητρική πλακέτα.
Εάν δοκιμάσατε όλα τα παραπάνω και ακόμα δεν μπορούν να σας ακούσουν σωστά κατά τη διάρκεια μιας κλήσης, επισκεφτείτε ένα κατάστημα iRepair για να επιδιορθώσουμε άμεσα την βλάβη και να επαναφέρουμε το iPhone σας σε κανονική λειτουργία.
Samsung Galaxy S5
Επισκευή iRepair: Αντικατάσταση οθόνης
Χρόνος Επισκευής iRepair: 30 λεπτά
Εγγύηση iRepair: Εφ' όρου ζωής



Για τους περισσότερους είναι δύσκολο να φανταστούν μια ζωή χωρίς χρώμα αλλά υπολογίζεται ότι περίπου 300 εκατομμύρια άνθρωποι παγκοσμίως έχουν αχρωματοψία.
Μέσω μιας νέας καμπάνιας με τίτλο «Χρώμα για Όλους» δυο εταιρίες συνεργάζονται για να βοηθήσουν άτομα να ζήσουν την εμπειρία του να βλέπεις τα χρώματα για πρώτη φορά.

Η εταιρία EnChroma πειραματίστηκε με τη δημιουργία ειδικών γυαλιών που προσφέρουν τη δυνατότητα σε ανθρώπους με αχρωματοψία να δουν κανονικά τα χρώματα και σε συνεργασία με την εταιρεία Valspar Paint έφτιαξαν μια καμπάνια πάνω σε ότι οι περισσότεροι θεωρούν δεδομένο ενώ για κάποιους άλλους είναι μια πρωτόγνωρη εμπειρία.


Στο παρακάτω video μας δείχνουν τις αντιδράσεις των ανθρώπων που καταφέρνουν να δουν χρώματα για πρώτη φορά και να νιώσουν τη χαρά των αποχρώσεων και των σκιάσεων.
Τα ειδικής τεχνολογίας γυαλιά που αντιμετωπίζουν το πρόβλημα της αχρωματοψίας διατίθενται στο εμπόριο μέσω της ιστοσελίδας της εταιρίας με την τιμή τους να ξεκινά από 369.95 δολάρια ενώ ο επόμενος στόχος της εταιρίας είναι αντίστοιχα και η κατασκευή φακών επαφής για την ίδια χρήση.


Περισσότερες πληροφορίες για τα γυαλιά μπορείτε να βρείτε στο website της εταιρίας:enchroma.com
Το iPhone σας ήρθε σε επαφή με νερό; Μήπως σας έπεσε μέσα στον νεροχύτη; Μήπως στριφογύρισε για να καταλήξει στον πάτο της τουαλέτας;

Δείτε τα 6 βήματα που πρέπει να ακολουθήσετε αμέσως για να δώσετε στο iPhone σας μια ευκαιρία να επιζήσει την "κατάδυση" και να αποφύγει μια μη αναστρέψιμη βλάβη.
1. Τραβήξτε το έξω από το νερό
Όσο περισσότερο μένει στο νερό, τόσο μεγαλώνουν οι πιθανότητες να υποστεί μια καταστροφική βλάβη. Σε τέτοιες περιπτώσεις ακόμη και ελάχιστα δευτερόλεπτα μπορεί να κάνουν τη διαφορά, οπότε δράστε άμεσα!
2. Απενεργοποιήστε την συσκευή
Με την άμεση απενεργοποίηση του iPhone σας, το προστατεύετε από ενδεχόμενο βραχυκύκλωμα.
3. Αφαιρέστε την θήκη
Αν το iPhone σας έχει προστατευτική θήκη αφαιρέστε την αμέσως καθώς μπορεί και εγκλωβίζει την υγρασία στην επαφή με την συσκευή σας. Αν έχετε προστατευτική μεμβράνη οθόνης χρειάζεται να την αφαιρέσετε και αυτή εάν έχει δημιουργηθεί κάποια εμφανή φυσαλίδα νερού.
4. Αφήστε το νερό να φύγει
Το νερό μπορεί εύκολα να διεισδύσει σε ολόκληρη τη συσκευή. Δημιουργήστε διεξόδους για να φύγει ευκολότερα από την συσκευή σας ανοίγοντας τυχόν μπλοκαρισμένα σημεία. Αποσυνδέστε τα ακουστικά, αφαιρέστε το USB καλώδιο ή τον φορτιστή.
5. Στεγνώστε το με τον σωστό τρόπο
Χρησιμοποιείστε μια πετσέτα, οποιοδήποτε ρούχο ή άλλο απορροφητικό υλικό έχετε άμεσα διαθέσιμο για να σκουπίσετε την συσκευή σας.

Χρησιμοποιήστε μια μπατονέτα για να αφαιρέσετε από την υποδοχή των ακουστικών και οποιαδήποτε άλλη κοιλότητα της συσκευής σας την επιπλέον υγρασία.
Μην το βάλετε στον φούρνο μικροκυμάτων. Mην το βάλετε πάνω σε καλοριφέρ. Μην το αφήσετε στον ήλιο. Mην το στεγνώσετε με πιστολάκι μαλλιών.
6. Μην ανοίξετε την συσκευή
Προσπαθήστε να αποφύγετε τον πειρασμό να ανοίξετε την συσκευή σας για να δείτε εάν λειτουργεί. Το νερό μπορεί να έχει παγιδευτεί στην μητρική πλακέτα και με την ενεργοποίηση της συσκευής να προκαλέσετε βραχυκύκλωμα και ταυτόχρονα μια πιο σοβαρή και μη αναστρέψιμη βλάβη.
Εάν βραχεί η το iPhone σας, ακόμη κι αν φαινομενικά δείχνει ότι δεν έχει πάθει κάποια βλάβη, φέρτε το άμεσα σε ένα από τα καταστήματα iRepair για ένα τεχνικό έλεγχο. Όσο πιο γρήγορα το φέρετε την ίδια ημέρα που βράχηκε τόσο αυξάνονται οι πιθανότητες να σωθεί η συσκευή σας.

Οι οθόνες αφής είναι ο καλύτερος τρόπος αλληλεπίδρασης με τις σύγχρονες συσκευές που χρησιμοποιούμε καθημερινά, ταυτόχρονα όμως αποτελεί και το ιδανικό περιβάλλον ανάπτυξης μικροβίων. Έτσι οι εταιρίες τεχνολογίας αναζητούν τρόπους να αποφύγουν την μετάδοση βακτηρίων και ιών μέσω της επαφής του χρήστη με την οθόνη αφής της συσκευής του.
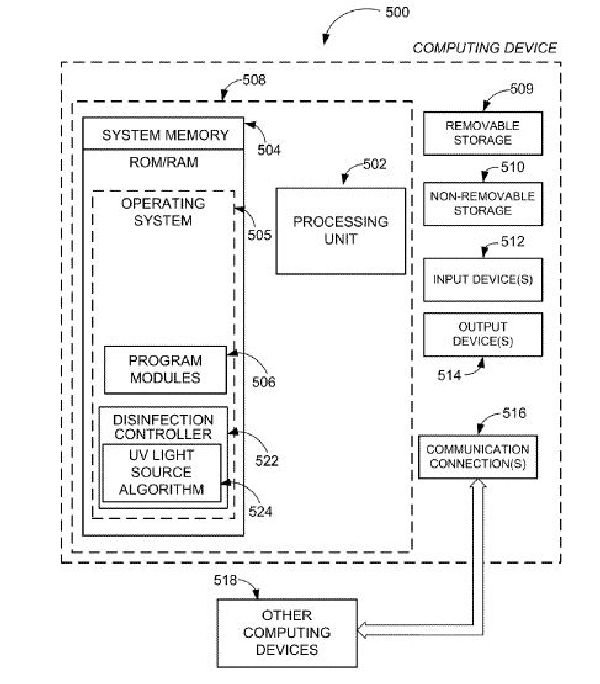
Πρόσφατα η Microsoft κατέθεσε ένα δίπλωμα ευρεσιτεχνίας για μια τεχνολογία που μπορεί να δώσει λύση σε όσους ανησυχούν για τα μικρόβια που πολλαπλασιάζονται στην επιφάνεια της οθόνης τους. Έτσι θα χρησιμοποιήσει την υπεριώδη ακτινοβολία (UV) για να απολυμαίνει αυτόματα τις οθόνες και να εξολοθρεύει βακτήρια και ιούς που βρίσκονται στην επιφάνειά της, ανιχνεύοντας το ανθρώπινο άγγιγμα.

Όπως αναφέρει η περιγραφή του διπλώματος ευρεσιτεχνίας, «το υπεριώδες φως εκπέμπεται από μία πηγή υπεριώδους φωτός σε μια διαφανή μεμβράνη. Το φως μεταφέρεται μέσω του διαφανούς υλικού και παραμένει στη μεμβράνη μέσω της ολικής εσωτερικής ανάκλασης. Το υπεριώδες φως εξέρχεται από το διαφανές υλικό στα σημεία επαφής για την απολύμανση των δαχτύλων και τις άμεσες γύρω περιοχές μέσω της ολικής εσωτερικής αντανάκλασης».

Η Microsoft δεν έδωσε πληροφορίες για το πότε αυτή η τεχνολογία θα είναι διαθέσιμη και σε ποια προϊόντα της εταιρίας θα εφαρμοστεί. Το όραμα είναι αυτή η τεχνολογία να μπορέσει να χρησιμοποιηθεί όχι μόνο σε προσωπικούς υπολογιστές, αλλά πιο συγκεκριμένα σε οθόνες που είναι εκτεθειμένες σε πολλούς ανθρώπους, όπως σε οθόνες μηχανημάτων αυτόματης ανάληψης σε τράπεζες αλλά σε οθόνες μηχανημάτων αυτόματης έκδοσης εισιτηρίων σε σταθμούς και αεροδρόμια.
Για πολλούς χρήστες iPhone, ο διαθέσιμος χώρος στις συσκευές τους είναι ελάχιστος. Με τόσες πολλές εφαρμογές, φωτογραφίες, τραγούδια και παιχνίδια που υπάρχουν σε κάθε συσκευή, είναι αρκετά εύκολο να παραγεμίσουμε τον αποθηκευτικό χώρο, ειδικά εάν η συσκευή είναι 8GB ή 16GB.
Εάν ψάχνετε τρόπους να απελευθερώσετε χώρο στο τηλέφωνό σας και ήδη έχετε αρχίσει να σκέφτεστε τη διαγραφή εφαρμογών, φωτογραφιών, βίντεο και τραγουδιών, μην ξεχνάτε πως και τα email σας μπορεί να δεσμεύουν αρκετό ωφέλιμο χώρο στο iPhone σας.

Μην «φορτώνεστε» τις φωτογραφίες των email
Συχνά λαμβάνουμε email που περιέχουν φωτογραφίες, είτε πρόκειται για ενημερωτικά δελτία, διαφημίσεις, επιβεβαιώσεις για αγορές που έχουμε κάνει online ακόμα και spam.
Σε κάθε περίπτωση για να μας εμφανιστούν οι φωτογραφίες που είναι ενσωματωμένες σε κάθε τέτοιο email, to iPhone σας θα πρέπει να κατεβάσει κάθε εικόνα. Αφού οι εικόνες καταλαμβάνουν περισσότερο χώρο από ότι το απλό κείμενο, αυτό μπορεί να επιβαρύνει την μνήμη της συσκευής σας.
Αν δεν έχετε πρόβλημα στο να βλέπετε όλα αυτά τα email σε πιο απλή μορφή, μπορείτε να ρυθμίσετε το iPhone σας να μπλοκάρει το κατέβασμα αυτών των φωτογραφιών. Από τις ρυθμίσεις ακολουθείτε Settings > Mail, Contacts, Calendar και στην κατηγορία Mail ρυθμίζετε στο Off την επιλογή Load Remote Images.
Παρόλο που μπλοκάρετε αυτές τις εικόνες, θα έχετε ακόμα την δυνατότητα να δείτε όλες τις φωτογραφίες που θα σας έρχονται με email ως συνημμένα αρχεία.
Διαγράψτε νωρίτερα τα email που δεν θέλετε
Διαβάσατε ένα email και δεν σας ενδιαφέρει πια να το κρατήσετε. Συνήθως επιλέγετε να αγγίξετε το εικονίδιο που το ρίχνει απευθείας στον κάδο ή επιλέγετε να κάνετε διαγραφή. Εκείνη τη στιγμή νομίζετε ότι διαγράψατε το email αλλά στην ουσία δώσατε εντολή στο iPhone σας απλά να διαγράψει και αυτό το email την επόμενη φορά που θα αδειάσει τον κάδο.
Υπάρχει μια ρύθμιση που δίνει συγκεκριμένη εντολή στο iPhone σας για τη συχνότητα που αδειάζει τον κάδο. Έτσι με κάθε διαγραφή email που κάνετε, δεν το διαγράφετε αυτόματα. Όπως είναι κατανοητό, όλα αυτά τα email που περιμένουν να διαγραφούν πιάνουν χώρο και αν τα διαγράψετε νωρίτερα θα αποκτήσετε ελεύθερο χώρο γρηγορότερα.
Από τις ρυθμίσεις ακολουθείτε Settings > Mail, Contacts, Calendar και στην συνέχεια επιλέγετε το λογαριασμό email που θέλετε να εφαρμόσετε την ρύθμιση. Από τον λογαριασμό Account > Advanced > Deleted Messages Menu επιλέγετε την συχνότητα που θέλετε να αδειάζει ο κάδος. Αν ο αποθηκευτικός σας χώρος είναι αρκετά περιορισμένος θα ήταν ιδανικό να προτιμήσετε την επιλογή «Μετά από 1 ημέρα». Έτσι τα email που έχετε επιλέξει να διαγράψετε θα απομακρύνονται και από την συσκευή σας κάθε μέρα.
Μην λαμβάνετε κανένα email
Σε περίπτωση που θέλετε να φτάσετε στα άκρα και να φυλάξετε τον πολύτιμο αποθηκευτικό χώρο του iPhone σας για κάτι άλλο, μην ρυθμίσετε κανένα λογαριασμό email στην συσκευή σας. Αυτό δεν σημαίνει ότι δεν θα μπορείτε καθόλου να δείτε τα email σας από το τηλέφωνό σας. Μπορείτε να χρησιμοποιείτε τον web browser για να το κάνετε. Έτσι κανένα email δεν θα αποθηκεύεται στο iPhone σας, αφήνοντας ελεύθερα αρκετά ΜΒ και επιπλέον πολύτιμο αποθηκευτικό χώρο στην συσκευή σας.
Το να επαναφέρετε το iPhone σας στις εργοστασιακές του ρυθμίσεις είναι ένας τρόπος για να επιδιορθωθούν βλάβες που έχουν προκληθεί στην συσκευή σας από κάποιο κακόβουλο λογισμικό. Το restore δεν μπορεί να σας εγγυηθεί ότι θα επιδιορθώσει τα προβλήματα στη συσκευή σας, αλλά το να το προσπαθήσετε είναι μια καλή επιλογή.

Ελέγξτε το περιεχόμενο του iPhone σας
Αρχικά πρέπει να βεβαιωθείτε ότι το restore είναι απαραίτητο για την συσκευή σας. Επαναφέροντας τις αρχικές ρυθμίσεις στο iPhone σας σημαίνει ότι θα διαγραφούν όλα τα δεδομένα που υπάρχουν στην συσκευή σας, συμπεριλαμβανομένων όλων των επαφών, τραγουδιών, βίντεο και φωτογραφιών που έχετε αποθηκευμένα.
Συνδέστε το iPhone με τον υπολογιστή σας
Σιγουρευτείτε ότι έχετε απενεργοποιήσει στην συσκευή σας την υπηρεσία «Εύρεση iPhone» από το μενού Ρυθμίσεις > iCloud στη συσκευή σας για να απενεργοποιηθεί το κλείδωμα ενεργοποίησης. Στη συνέχεια χρησιμοποιείστε το USB καλώδιο για να συνδέσετε το iPhone σας με τον υπολογιστή σας. Βεβαιωθείτε ότι χρησιμοποιείτε την τελευταία έκδοση του iTunes. Αν δεν ξεκινήσει αμέσως, επιλέξτε να ανοίξετε το iTunes και εντοπίστε την συσκευή σας. Έτσι θα είστε σίγουροι ότι το iPhone σας έχει συνδεθεί με επιτυχία και μπορείτε να προχωρήσετε στο επόμενο βήμα.
Κάντε backup στα δεδομένα σας, δημιουργήστε εφεδρικό αντίγραφο
Εάν έχετε προεπιλεγμένη την ρύθμιση αυτόματου συγχρονισμού, τότε αφού συνδεθείτε, ταυτόχρονα θα ξεκινήσει και η μεταφορά δεδομένων από το iPhone στον υπολογιστή σας. Αυτό είναι σημαντικό βήμα καθώς έτσι θα μεταφερθεί το πιο πρόσφατο περιεχόμενο του iPhone σας, συμπεριλαμβανομένων και όλων των εφαρμογών που έχετε κατεβάσει στην συσκευή σας. Αν δεν έχετε προεπιλεγμένη τη ρύθμιση αυτόματου συγχρονισμού θα πρέπει να κάνετε κλικ στην επιλογή «Συγχρονισμός» (Sync) για να ξεκινήσει.
Προετοιμασία για Restore στο iPhone
Στη σελίδα του iTunes όπου βλέπετε τις πληροφορίες της συσκευής σας, στο πλαίσιο «Σύνοψη» θα δείτε ότι σας δίνεται η επιλογή Restore (επαναφορά). Μόλις κάνετε κλικ, το iTunes θα σας εμφανίσει μια ειδοποίηση που θα σας προειδοποιεί ότι η επαναφορά των εργοστασιακών ρυθμίσεων οδηγεί σε διαγραφή όλων των αρχείων πολυμέσων και δεδομένων στο iPhone σας. Εάν έχετε ολοκληρώσει τον συγχρονισμό της συσκευής σας, κάντε ξανά κλικ στην επιλογή Restore.

Ολοκλήρωση της διαδικασίας Restore στο iPhone
Από την στιγμή που επιλέξατε να κάνετε Restore, το iTunes αυτόματα ξεκινάει την διαδικασία επαναφοράς ρυθμίσεων. Σε αυτό το στάδιο, μην αποσυνδέσετε το iPhone σας από τον υπολογιστή σας, μέχρι να ολοκληρωθεί η διαδικασία. Το iTunes θα σας ενημερώσει όταν η διαδικασία ολοκληρωθεί και αυτόματα το iPhone σας θα κάνει επανεκκίνηση και θα δείτε σας εμφανίσει ένα μήνυμα που θα σας ενημερώνει ότι το iPhone σας έχει ενεργοποιηθεί.
Διαμόρφωση iPhone
Εφόσον το iPhone σας έχει κάνει επανεκκίνηση, στην οθόνη υποδοχής θα σας εμφανιστούν δύο επιλογές διαμόρφωσης. Έτσι έχετε την επιλογή να διαμορφώσετε την συσκευή σας ως καινούργια (set up as a new phone) είτε να την διαμορφώσετε από ένα προηγούμενο εφεδρικό αντίγραφο (restore from a backup). Αν όμως το iPhone σας αντιμετωπίζει προβλήματα συνιστάται να προχωρήσετε με την πρώτη επιλογή και να διαμορφώσετε την συσκευή σας από την αρχή ως καινούργια.

Τέλος στα μπερδεμένα καλώδια τον ακουστικών σας!
Τα μπλεγμένα ακουστικά είναι από τις μικρές εκνευριστικές λεπτομέρειες της καθημερινότητας μας. Όσοι διαθέτουν φορητές συσκευές και θέλουν να μιλήσουν στο κινητό τους, να δουν ένα βίντεο ή να ακούσουν μουσική με τα ακουστικά τους μέσω του smartphone ή του tablet τους, συχνά βρίσκονται αντιμέτωποι με μια μίνι «ζούγκλα»!
Τα ακουστικά μας έχουν την τάση να μπλέκονται στην τσέπη μας ή την τσάντα μας λόγω του μήκους τους αλλά και της ανακίνησης του χώρου που βρίσκονται. Και μετά δυσανασχετούμε για να τα ξεμπερδέψουμε…


Στην iRepair θα βρείτε το πιο απίθανο αξεσουάρ για να μην ξαναμπερδευτούν ποτέ!
Ένας ελέφαντας, μια πάπια, ένας κροκόδειλος ή ένα γουρουνάκι θα φροντίζει να κρατάει τη «ζούγκλα» των ακουστικών σας πάντα σε τάξη!

Αποκτήστε τα στην iRepair!